Se c’è una cosa che non manca ad Apple sono i brevetti. Apple pubblica ogni anno brevetti su brevetti con invenzioni che possono vedere la luce anche decine di anni dopo. Intanto Apple ha pubblicato un nuovo brevetto per le lenti da applicare alla fotocamera. Le lenti della fotocamera sono elementi che gli utenti, che si dilettano o che utilizzano la fotografia per professione, vogliono avere sul proprio iPhone.

Le lenti sono come dei supporti che vengono applicati alla fotocamera di iPhone. Queste lenti permettono di avere maggiori effetti e maggiori strumenti per la fotocamera. Altre società terze hanno proprio il loro business nella produzione di accessori per la fotocamera di iPhone.

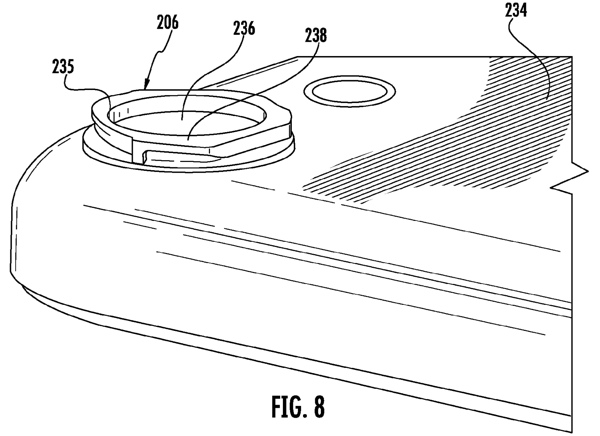
Il meccanismo progettato da Apple permette di avere molte lenti che si possono agganciare alla fotocamera dell’iPhone tramite delle apposite sezioni. Il meccanismo è molto semplice e non necessita di nessuna capacità manuale particolare. Apple potrebbe vendere anche queste lenti per allargare il suo business agli accessori come ha già cominciato a fare; basti pensare ad iPhone 5C per il quale Apple vende le cover.

Le lenti che adesso si possono acquistare da terzi utilizzano un supporto magnetico o con un montaggio che non le rende altrettanto sicure e performanti come quelle che pensa Apple che si avvitano alla fotocamera.

Il brevetto, come è giusto che sia, è molto tecnico e specifico nei dettagli. Apple ha anche pensato ad un metodo di attacco della lente in modalità magnetica, e ha anche pensato ad un pannello rimovibile per utilizzare la lente. Tutte queste soluzioni però comportano sacrifici da parte dell’utente Apple.

Lascia un commento