È stato trovato un novo brevetto Apple che questa volta riguarda gli schermi. Con l’iWatch si parla molto di schermo flessibile perchè si pensa che il futuro smartwatch di Apple potrà avere lo schermo che circonda il polso. Ma adesso sembra che questo orologio con lo schermo flessibile non sia così innovativo.

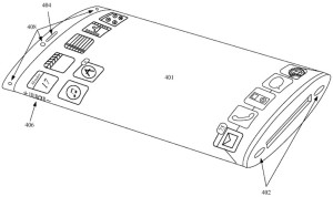
Infatti il brevetto trovato riguarda un altro dispositivo, probabilmente un iPhone con lo schermo flessibile che si arrotola attorno ad un supporto che gli conferisce la forma desiderata: tonda, ovale o rettangolare. Questo può essere interessante nell’utilizzo quotidiano per adattarsi alle esigenze diverse.

Ma in particolare è interessante notare che se Apple si era già interessata, è probabile che presto arrivi qualche progetto che riguardi questi nuovi schermi flessibili.

Lascia un commento