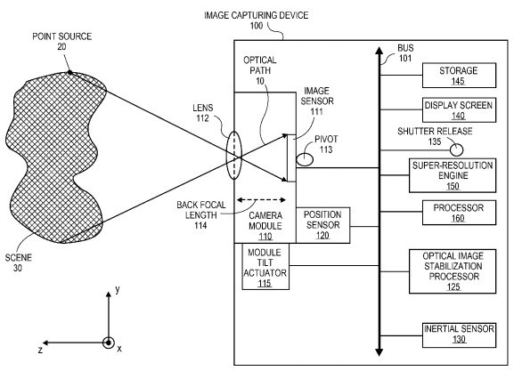
Si parla molto di iPhone 6 e delle novità che introdurrà nel mondo tecnologico. iPhone 6, oltre ad avere lo schermo più grande, avrà anche il processore A8, il Touch ID e lo stabilizzatore di immagini. Ma a cosa servirà lo stabilizzatore di immagini? Un brevetto registrato all’ufficio brevetti americano, rende evidente come questo stabilizzatore di immagini possa essere molto importante nello scenario globale. Infatti si pensa che questo stabilizzatore di immagini abbia la possibilità di implementare le funzionalità della fotocamera, riuscendo a scattare fotografie con una risoluzione addirittura maggiore a quella fornita dal supporto hardware. Lo stabilizzatore di immagini funziona tramite un particolare processore, che prevede che la fotocamera scatti una serie di fotografie a bassa risoluzione. Queste fotografie a bassa risoluzione vengono intelligentemente abbinate, tramite un processore dedicato che permette di creare un’unica immagine ad alta risoluzione. Il sensore permetterebbe il funzionamento di due sensori. Il primo che catturi l’immagine e il secondo che riesca a rielaborarla per avere l’immagine ad alta definizione. Ma la funzione pratica del sensore ottico per la stabilizzazione di immagini è che permette di scattare fotografie e registrare ad alta risoluzione eliminando errori e sfumature nelle immagini. Si dovrebbe riuscire ad ottenere una messa a fuoco sempre ottimale. In questo modo Apple riesce ad ottenere un risultato di alto livello con le fotografie adottando sempre lo stesso hardware. In pratica Apple ha deciso di potenziare processori e sensori della fotocamera e di tralasciare l’hardware specifico. Bisogna infatti ricordarsi che l’esigenza di Apple è quella di avere un design sottile. A questo scopo anche la fotocamera deve essere d’aiuto. La possibilità di potenziare la fotocamera senza dover aumentare lo spessore, rimane una delle soluzioni migliori per Apple che riesce a combinare insieme design e qualità. Apple inoltre continua ad assumere tecnici ed esperti che possano aiutarla nei suoi progetti.
- Autore dell'articolo:MagazineApp.it
- Articolo pubblicato:9 Maggio 2014
- Categoria dell'articolo:News
- Commenti dell'articolo:0 commenti