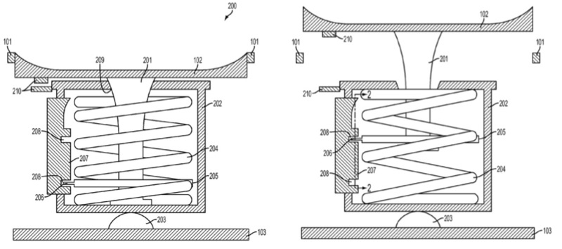
L’ufficio Brevetti americano avrebbe approvato un nuovo brevetto fatto da Apple. Il brevetto riguarda il tasto Home che è l’unico tasto frontale di iPhone e iPad. L’intenzione di Apple sarebbe quella di renderlo più versatile trasformandolo in un piccolo joystick da utilizzare in diversi modi ma soprattutto per giocare.

Il “multi-function imput device” funzionerebbe come un normale tasto Home, con le sue funzionalità Touch ID che rimarrebbero tali e quali a quelle attuali, ma con un semplice click il pulsante si alza e diventa un joystick che si muove nelle diverse direzioni. Schiacciando il tasto tornerebbe a livello e non sarebbe più sporgente.

Non sarebbe un vero joystick di quelli che si è abituati a vedere nelle moderne consolle. Il tasto emerge solo di qualche millimetro, il sufficiente per essere mosso in diverse direzioni. Il problema sarebbe anche legato allo spessore, infatti non si può pretendere che fuoriesca molto visto il corpo sottile di iPhone e iPad.

Questa soluzione sarebbe l’ideale per una non tanto ristretta fetta di utenti che vogliono iPhone anche come consolle da gioco. Infatti mettendo i tasti direzionali o joystick sullo schermo di iPhone, viene rubata una fetta di schermo dalle dita. In questo modo si risolverebbe il problema. Inoltre sarebbe utile a tutti quelli che non vogliono acquistare accessori di terzi per trasformare il proprio iPhone in una consolle da gioco, questa insomma sarebbe una soluzione pratica e comoda per tutti gli utenti.

Il brevetto risale ancora al 2013 e potrebbe vedere applicazione pratica nel prossimo iPhone e quindi per la fine dell’anno. Come sempre per i brevetti, non sappiamo se vedremo mai applicazione pratica.

Lascia un commento