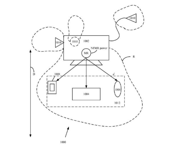
Apple avrebbe dei nuovi brevetti per l’utilizzo di tecnologie wireless per poter caricare i suoi dispositivi. In pratica Apple avrebbe depositato dei brevetti che prevedono delle soluzioni innovative per utilizzare sistemi di ricarica dei dispositivi senza doversi collegare a fonti energetiche vie cavo. Nel diagramma incluso nel brevetto è rappresentato quello che dovrebbe essere un iMac con la sua tastiera e il suo mouse, e in teoria è rappresentato anche un iPod. Il brevetto di Apple utilizzerebbe un sistema di risonanza magnetica che alimenterebbe le batterie entro un’area ben delimitata.

Le modalità di carica wireless sono già state sviluppate da altre società e non sono nuove nel mercato. Si è parlato per molto tempo di possibilità su questa tecnologia da parte di Apple ma poi non si era più detto niente a riguardo. Sono stati trovati altri brevetti Apple su questo argomento e questo ci porta a pensare che Apple sia seriamente impegnata a dare vita a modalità di carica wireless.

Ma oltre a concentrarsi su tecnologie di carica wireless, Apple avrebbe anche un brevetto per proteggere lo studio del design di Mac Pro. Apple ci tiene particolarmente al design dei suoi prodotti tanto da essere coperti da proprietà intellettuale. Bisogna però ricordare che molti dei brevetti che Apple decide di depositare, spesso non portano a nessun risultato finale, se non a vantaggi nel campo della ricerca e innovazione applicata a prototipi.

Lascia un commento