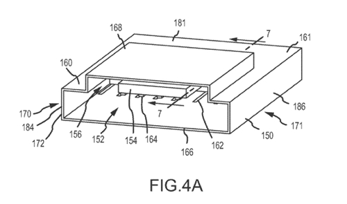
È stato trovato un nuovo brevetto Apple per un connettore che fornisca accesso a due porte: una USB e una per SD card. Praticamente all’interno di questa porta SD/USB si potranno utilizzare sia una SD card che una chiavetta o un dispositivo USB. Questo nuovo connettore potrebbe essere molto comodo per i dispositivi più piccoli come il MacBook Air 11 pollici. Avere due porte così attaccate permette di risparmiare molto spazio.

Il brevetto era stato depositato a Dicembre 2011 ma è stato pubblicato solo oggi. Apple non è la prima volta che produce brevetti che poi non si vedono sui prodotti finali. Apple potrebbe utilizzare questo brevetto per aggiungere un’altra porta USB o per salvare spazio. 

Apple ha appena rilasciato un nuovo modello di MacBook Air ma non ha fatto questo aggiornamento adottando questo brevetto. Si pensa che Apple rilasci un nuovo MacBook Pro Retina e quindi potrebbe arrivare l’aggiornamento con la nuova porta USB/SD per questo dispositivo. Non ci sono garanzie che Apple utilizzi questa novità.

Lascia un commento