Montblanc sviluppa e-Strap, per avere il cinturino digitale
I produttori di orologi di lusso hanno dovuto accettare che…
Vuoi rimanere costantemente aggiornato su tutto ciò che di nuovo succede nel mondo Apple? Questa è la pagina giusta! Qui parliamo di tutti gli aspetti che riguardano i nostri iPhone, iPad e Mac, ma non solo: volgiamo lo sguardo agli eventi Apple, alle statistiche di vendita dei prodotti con la mela, e poi ancora alla data di uscita dei nuovi modelli e alle innovazioni tecniche di quelli già esistenti.
La pagina è aggiornata costantemente, così saprai sempre cosa bolle nella pentola dell’azienda di Cupertino.
Vuoi capire quando uscirà il nuovo modello di Apple Watch?
Qual’è l’ultima versione di iOS disponibile e in cosa si differenzia dalla precedente?
Stai cercando nuovi accessori per il tuo iPad? Muori dalla voglia di sapere di cosa tratterà il prossimo evento?
Ti veniamo incontro pubblicando tutto questo e molto altro, e se proprio non avremo individuato per filo e per segno tutti gli argomenti del prossimo evento Apple, ci saremo comunque andati molto vicino. Resta informato su tutto ciò che ruota attorno a questo mondo e segui sul blog le più recenti notizie Apple!
I produttori di orologi di lusso hanno dovuto accettare che…
Il nuovo Campus 2 di Apple a Cupertino, avrà spazio…
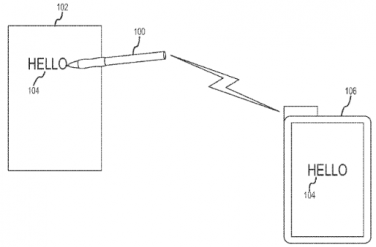
Apple si è aggiudicata un nuovo brevetto approvato dall'Ufficio Brevetti…
Felix Paul Kuehne si occupa dello sviluppo della versione per…
L'agenzia di ricerca Flurry ha monitorato il mercato dei dispositivi…
In Inghilterra Apple potrebbe lanciare presto il programma Apple Pay.…
Avevamo scritto l'altro giorno che Apple aveva deciso di non…
L'emittente americana CNN, ha deciso che il premio come CEO dell'anno…
Molti avranno sentito la notizia riguardo un gruppo di hacker coreani…